氣動離合器出現故障是什么原因?
瀏覽: 發布日期:2025年-08月-19日 09時:47分:43秒
問:氣動離合器在工作的時候出現了故障,是什么原因呢?
答:氣動離合器在工作過程中出現了以下幾種情況:
(1) 傳動連接器和萬向節連接處出現抖動。
需要檢查一下軸承安裝是否不妥當或者損壞、輸出軸的跳動量較大,這些都會導致以上情況發生。
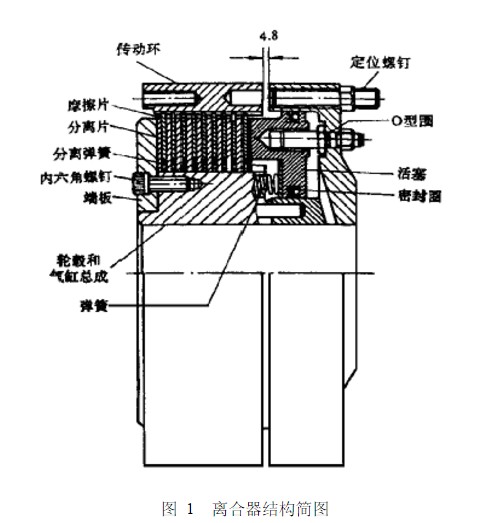
(2) 從觀察孔能看到靠近端板的最后一道摩擦片滑出齒槽,導致摩擦片外齒彎曲的情況。
或因傳動環和摩擦片的裝配不良以及傳動環在運動中產生向后位移導致。
(3) 傳動環和氣缸的間隔處有金屬碎片掉出來。
需要檢查一下傳動環和氣缸之間的間隙是否產生位移或間隙過小導致兩者咬合,從而產生金屬碎片;或者因為萬向節處的抖動現象引起二者產生咬合,使金屬碎片掉出。










